Chuyển đến phần nội dung
Không có kết quả
  • Mua sắm
  • Về chúng tôi
  • Bài viết
  • Tiếng Việt
    • Tiếng Việt
    • English
Chuyên Gia công Cao su - Nhựa Kỹ thuật Nam Phụng RP
  • Về chúng tôi
  • Bài viết
  • Mua sắm
  • Tiếng Việt
    • Tiếng Việt
    • English
Chuyên Gia công Cao su - Nhựa Kỹ thuật Nam Phụng RP
  • Hướng dẫn lựa chọn vật liệu, Nguyên tắc thiết kế cơ khí

Sai hỏng do ứng suất cơ học

Sai hỏng do ứng suất cơ học xảy ra trong 4 trường hợp: Sai hỏng do ứng suất tĩnh Đa số các kim loại và hợp kim trong kỹ thuật có tính biến dạng đàn hồi tuyến tính. Lấy ví…

  • Khôi Nguyễn
  • 20/04/2026
  • Chẩn đoán lỗi và cách sửa, Nguyên tắc thiết kế cơ khí, Tình huống thực tế và ứng dụng

Giảm độ cứng thép 65Mn sau khi hàn điểm bằng tôi cảm ứng

Độ cứng của thép 65Mn thường tăng lên hơn 60HRC sau khi hàn điểm. Ngoài ra, khi hàn điểm cũng dễ có lỗ hổng bên trong lòng vật liệu. Điều này làm cho vật liệu giòn cứng, gãy mỏi nhanh…

  • Khôi Nguyễn
  • 13/03/2026
  • Chẩn đoán lỗi và cách sửa, Hướng dẫn lựa chọn vật liệu, Nguyên tắc thiết kế cơ khí

Các trường hợp ứng suất trong lựa chọn vật liệu thiết kế cơ khí

Để chọn vật liệu phù hợp với các trường hợp ứng suất một cách có hệ thống, một kỹ sư thiết kế cơ khí cần:  Trong thực tế, tải trọng có thể sinh ra từ tác động cơ học, nhiệt,…

  • Khôi Nguyễn
  • 05/03/2026
  • Hướng dẫn lựa chọn vật liệu, Nguyên tắc thiết kế cơ khí

Vật liệu phát triển sản phẩm cơ khí – nền tảng cho kỹ sư thiết kế

Các yếu tố trong phát triển chi tiết

Thế giới vật liệu – nền tảng cơ bản của ngành cơ khí Vật liệu phát triển sản phẩm cơ khí trong kỹ thuật Vật liệu mới đã và đang giúp con người có cuộc sống tốt hơn. Chúng quan…

  • Khôi Nguyễn
  • 02/03/2026
  • GD&T và bản vẽ kỹ thuật, Nguyên tắc thiết kế cơ khí, Tiêu chuẩn và chứng chỉ

Quy cách O-ring ISO hệ in cho ứng dụng ngành hàng không

Quy cách o-ring theo ISO

Trong bài viết này, bạn được trang bị thêm nguồn dẫn về bảng tra quy cách O-ring ISO hệ in cho ứng dụng ngành hàng không. Tính đến thời điểm đăng bài viết, phiên bản mới nhất của tiêu chuẩn…

  • Khôi Nguyễn
  • 26/02/2026
  • GD&T và bản vẽ kỹ thuật, Nguyên tắc thiết kế cơ khí, Tiêu chuẩn và chứng chỉ

Quy cách O-ring ISO hệ mm cho ứng dụng ngành hàng không

Quy cách o-ring theo ISO

Trong bài viết này, bạn được trang bị thêm nguồn dẫn về bảng tra quy cách O-ring ISO hệ mm cho ứng dụng ngành hàng không. Tính đến thời điểm đăng bài viết, phiên bản mới nhất của tiêu chuẩn…

  • Khôi Nguyễn
  • 25/02/2026
  • GD&T và bản vẽ kỹ thuật, Nguyên tắc thiết kế cơ khí, Tiêu chuẩn và chứng chỉ

Quy cách O-ring ISO hệ in cho ứng dụng công nghiệp chung

Quy cách o-ring theo ISO

Trong bài viết này, bạn được trang bị thêm nguồn dẫn về bảng tra quy cách O-ring ISO hệ in cho ứng dụng công nghiệp chung. Tính đến thời điểm đăng bài viết, phiên bản mới nhất của tiêu chuẩn…

  • Khôi Nguyễn
  • 24/02/2026
  • GD&T và bản vẽ kỹ thuật, Nguyên tắc thiết kế cơ khí, Tiêu chuẩn và chứng chỉ

Quy cách O-ring ISO hệ mm cho ứng dụng công nghiệp chung

Quy cách o-ring theo ISO

Trong bài viết này, bạn được trang bị thêm nguồn dẫn về bảng tra quy cách O-ring ISO hệ mm cho ứng dụng công nghiệp chung. Tính đến thời điểm đăng bài viết, phiên bản mới nhất của tiêu chuẩn…

  • Khôi Nguyễn
  • 23/02/2026
  • GD&T và bản vẽ kỹ thuật

Dung sai kích thước cao su đúc: cách thiết kế cơ khí chuẩn ISO

Sơ đồ khuôn cao su ép nén và chi tiết đúc

Dung sai là một chủ đề muôn thuở trong thiết kế sản phẩm cơ khí. Trong bài viết này, mình sẽ giới thiệu ISO 3302-1 và cách thiết kế dung sai kích thước cao su đúc theo tiêu chuẩn thế…

  • Khôi Nguyễn
  • 06/02/2026
  • Nguyên tắc thiết kế cơ khí

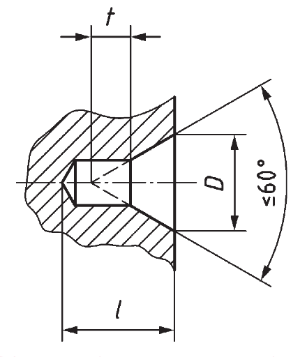
Tiêu chuẩn lỗ chống tâm cho chi tiết tiện: quy cách thiết kế

Tiêu chuẩn lỗ chống tâm loại A

Có 4 loại tiêu chuẩn lỗ chống tâm đa dụng: loại R, loại A, loại B, loại C. Trong bài viết này, mình chỉ đề cập đến mũi khoan góc 60° là loại phổ biến. Các loại góc khác như…

  • Khôi Nguyễn
  • 30/01/2026
1 2 3
Tiếp theo

Liên lạc

Kinh doanh (Nhi): (+84) 947 302 837
Kỹ thuật (Khôi): (+84) 915 470 943
Email: namphungrp@gmail.com

Thông tin công ty

  • Tên pháp lý: CÔNG TY TNHH THƯƠNG MẠI VÀ SẢN XUẤT NAM PHỤNG
  • Mã số thuế: 0319089563
  • Địa chỉ: 861/72/11 Trần Xuân Soạn, Phường Tân Hưng, TP Hồ Chí Minh, Việt Nam
  • Đại diện: Nguyễn Quý Khôi
  • SĐT: 0915470943

Hỗ trợ khách hàng

  • Chính sách bảo mật
  • Chính sách trả hàng và hoàn tiền

Siêu khuyến mãi~

Yêu cầu báo giá qua from trên trang web để nhận giảm giá đến 5% giá trị đơn hàng. Nhận thêm giảm giá 100k khi để lại đánh giá thật hay trên Google Map.

Copyright © 2026 - CÔNG TY TNHH THƯƠNG MẠI VÀ SẢN XUẤT NAM PHỤNG